Projekt 2024-62231

Roco 62231 - BR 57

Stichworte: Haftreifentausch, Wartung, optische Verschönerung

Ankauf

Diese schöne Lok wurde relativ günstig auf ebay ersteigert und befand sich laut Beschreibung im "Neuzustand".. auf den Fotos waren jedoch ein paar Mängel ersichtlich, weshalb sie beim finalen Zuschlag doch deutlich unter dem Neupreis blieb:

Doch um welche Lokomotive handelt es sich eigentlich?

Diese Lokomotive fand erstmals im ROCO-Hauptkatalog 2008/2009 Erwähnung, und zwar als Neuheit 2009 [1]:

Es handelt sich also um eine relativ neue und hochwertige Lokomotive welche sogar mit Digitalschnittstelle ausgestattet ist. Da zahlt es sich schon aus, etwas genauer hinzusehen.

Diagnose

Im Neuzustand befand sich nach Lieferung leider nur die Verpackung: Die Lok war wohl länger in einer Vitrine gestanden und dadurch verstaubt.

Bei der Probefahrt zerlegten sich die Haftreifen, und bei der Verdrahtung rund um den Kessel zeigten sich leider auch  Flugrostspuren.

Wahrscheinlich wird auch eine Getriebe- und Achsenreinigung und -wartung notwendig sein da man an einigen Stellen fest gewordenes Schmierfett sehen kann - schon jetzt lässt sich also sagen, dass die Lok alles andere als im "Neuzustand" zu sein scheint. Das Ziel dieses Projektes sollte es deshalb sein, die Lok wieder in einen sehr guten Zustand zu bringen um sie wieder in jenem Glanz erstrahlen zu lassen, den sich dieses Schmuckstück auch verdient.

Ersatzteile

Zunächst müssen wir herausfinden, welche Ersatzteile wir bestellen müssen da dies üblicherweise einige Vorlaufzeit benötigt. Wir brauchen zumindest Haftreifen: Bei älteren Modellen kann das schonmal zu einem Problem werden da es diese üblicherweise seit langem nicht mehr als Original-Ersatzteil verfügbar gibt. Auf der offiziellen homepage des Modells bei ROCO gibt es jedoch noch eine Ersatzteilliste zum download [2].

Beim genaueren Studium der Liste fällt auf, dass es zwei verschiedene Typen von Haftreifen zu geben scheint. Dies ist kein Druckfehler sondern eine Besonderheit dieses Modells: Nicht nur 4 Räder des angetriebenen Tenders, sondern auch 2 Räder der vorderen Achsen der Lok sind nämlich mit Haftreifen ausgestattet - dadurch benötigt man Haftreifen 2 verschiedener Grössen. Warum dies der Fall ist erschliesst sich hier nicht da die Vorderachsen nicht angetrieben sind - es muss sich also um eine Art Relikt aus der Vergangenheit handeln.

Roco bietet die beiden Haftreifensätze für rund 15 Euro (zzgl. Versand) an. Das kann man sich leisten, muss man aber nicht: Deutlich günstigere Haftreifen gibt es üblicherweise bei KaModell für alle gängigen Modelle verfügbar, und zwar mit gleicher und oft sogar besserer Qualität. Wie ein kurzer Blick auf die website offenbart, braucht man für Roco-Dampflokomotiven der Baureihe 57 jeweils ein Set der Artikel 3G/0,5 und 5B/0,5 [3]:

Wartung und Instandhaltung

Nun müssen wir herausfinden, wie man die Lok überhaupt zerlegen kann. Selbst bei neueren Modellen und bei Vorhandensein einer Anleitung sind die einzelnen Schritte des Auseinandernehmens oft relativ ungenau und unvollständig beschrieben, weshalb manchmal nur rumprobieren oder raten zum Ziel führt. Insbesondere bei teuren und filigranen Dampflokomotiven muss man daher extrem vorsichtig agieren.

Auf der Roco-Homepage dieses Modells [2] ist keine Anleitung zu finden - nach etwas Suchen findet man jedoch eine Anleitung eines vergleichbaren BR 57 - Modells auf der z21app-Website von Roco [4]. Die darin beschriebenen Schritte sind übrigens exakt gleich von denen der Papier-Anleitung unseres Modells was einen Hinweis darauf gibt, warum die Anleitungsschritte oft ungenau und unvollständig sind: Sie wurden wahrscheinlich einfach von früheren Modellen 1:1 übernommen und sind daher nicht immer zu 100% exakt beschrieben.

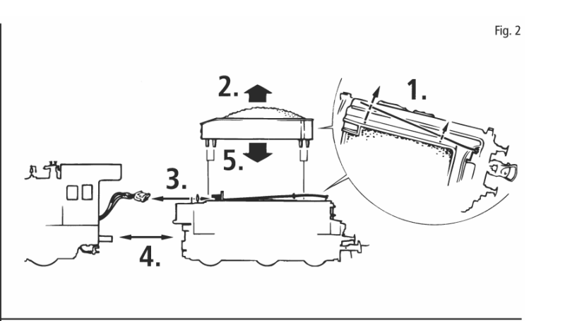
Hier finden wir bereits Hinweise, dass sich Tender und Lok problemlos durch einen Stecker trennen lassen. Ein grosser Fortschritt im Vergleich zu früheren Modellen, wo Tender und Lok oft miteinander mittels stromführenden Kabeln verlötet waren. Ausserdem findet man einen Hinweis, wie man Zugang zu den Tender-Achsen bekommt, um sie zu warten und die Haftreifen zu wechseln - nämlich durch Abnahme der Bodenplatte.

Bevor wir die neuen Haftreifen aufziehen können müssen erst mal alle Reste der alten Haftreifen aus dem Getriebe rausgeklaubt und von den Reifen abgeschabt werden. Hierbei bietet sich an, gleich eine Getriebewartung durchzuführen: Die Getriebekapsel kann nach Entfernen der Bodenplatte auch aus dem Tender gezogen werden. Anschliessend wird sie zerlegt, alle Komponenten werden vorgereinigt und dann für mindestens einen Tag in Modellbau-Öl eingelegt.

Die Haftreifen vom Typ KaModell 3G/0,5 werden dann an 4 Rädern aufgezogen. Jeder hat dafür eine eigene Technik - ein Zahnstocher funktioniert üblicherweise problemlos, um die Gummibeschichtungen ohne Beschädigungen in die Haftreifen-Rille zu bekommen.

Dann werden die Stromkontaktflächen auf den Kupferfedern, welche die Räder berühren, kurz mit einem Glasfaserstift gereinigt. Schliesslich wird noch etwas Spezial-Schmierfett auf die Plastik-Zahnräder aufgetragen, und die Achslagerstellen mit kleinen Tropfen Schmieröl benetzt.

Der Tender ist nun vollständig gewartet - die Bodenplatte kann nun wieder montiert werden.

Als nächsten Schritt müssen wir die Vorderräder reinigen und der Vollständigkeit halber ebenfalls neue Haftreifen aufziehen. Dabei schadet auch ein kurzer Blick ins Innere des Gehäuses nicht - auch hier bekommen wir eine erste Idee der Prozedur aus der Anleitung [4]. Die Ausführung ist jedoch alles andere als trivial: Nach Entfernung der unteren Schrauben muss man penibel darauf achten, dass die hinteren, seitlichen Plastikteile keinen Schaden nehmen während man sie vorsichtig zur Seite spreizt. Auch ist das Gehäuse im Bereich des Dampfgenerator-Aufnahmezylinders nicht leicht abzubekommen: Hier sind Fingerspitzengefühl und Geduld gefragt.

Es kann sein, dass die äusseren Kesselrohre locker werden und sich nach vorne schieben - auch hier muss man aufpassen, dass man nichts verbiegt oder abbricht. Die Stromkabel befinden sich im unteren Teil und können durch eine kleine, rote Deckplatte vom oberen Teil des Gehäuses getrennt werden, um die nachfolgenden Arbeiten zu erleichtern. Spätestens bei diesen Arbeiten sei dem interessierten Bastler eine Lokliege empfohlen, um Beschädigungen an den dünnen und filigranen Plastikteilen zu vermeiden.

Nun nämlich geht es daran, das empfindliche Gestänge, welches die Speichenräder verbindet, aufzulösen damit die Räder gereinigt werden können. Die Anleitung zeigt ganz gut, was zu tun ist - hierfür braucht man nun einen Steck- oder Mikro-Maulschlüssel mit der Schlüsselweite 2.5mm.

Davor muss man jedoch noch die untere Verkleidung der Bodenplatte entfernen, was nicht trivial und auch nicht in der Anleitung beschrieben ist. Am besten hebt man an jedem Ende die Verkleidung mit einem kleinen Schlitzschraubendreher an und biegt die Verbindungs-Pins nach aussen - wenn möglich, ohne das Plastik irgendwo abzubrechen: Schwierig, aber möglich.

Dann wird die Bodenplatte abgeschraubt, und die Achsen sind freigelegt. Hier sieht man schon, warum es Sinn macht, auch diese Räder zu reinigen: Fest gewordenes Schmierfett und etwas Staub haben sich über die Jahre festgesetzt und warten nur darauf, entfernt zu werden.

Um die Räder aus der Bodenplatte zu bekommen muss man nun, wie in der Anleitung beschrieben, das Gestänge von den beiden mittleren Rädern mit den Haftreifen lösen. Hier ein paar Tipps zu den nächsten Schritten:

- Um die Stabilität der verbundenen Achsen während der Lösung der zentralen Gestängeverbindung zu verbessern kann es sich anbieten, die rote Bodenplatte zunächst draufzulassen und die Platte erst nach dem Lösen der Verbindung zu entfernen.

- Trotz Anleitung bietet es sich an, jeden einzelnen Schritt zu fotografieren damit man später nicht mit der Reihenfolge der Gestängeteile durcheinanderkommt, wenn man alles wieder zusammenstückelt.

- Auch hier ist Vorsicht bei den Kleinteilen geboten - vor allem, dass man die winzigen Schrauben nicht verliert und die Gestängeteile nicht verbiegt.

- Es kann sein, dass einige Gestängeschrauben zu fest angezogen sind und der Schlüssel daher durchdreht. In diesem Fall ist es wahrscheinlich besser, nicht zu versuchen, die Schraube mit Gewalt oder anderen Werkzeugen zu lösen, sondern die Schraube einfach am Rad dranzulassen und dann als Verbund zu reinigen.

Nachdem alle Gestängeteile der mittleren Räder gelöst wurden kann man nun alle Räder aus der Bodenplatte, inklusive einem Teil des Gestängeverbunds, herausziehen. Auch hier muss man wieder, wie beim Tender, darauf achten, die winzigen Druckfedern nicht zu verlieren, welche einige der Achsen gegen die Bodenplatte drücken.

Auch die restlichen Gestängeschrauben können nun gelöst werden - anschliessend können alle Teile grob vorgereinigt werden und kommen wiederum für mindestens 24 Stunden in's SR24 Modellbauöl-Bad.

Nach der Reinigung gilt es nun, alles wieder zusammenzusetzen: Die Schmierstellen beim Gestänge und den Achsen werden dabei entsprechend geölt. Auch beim Zusammensetzen gilt es natürlich, Vorsicht walten zu lassen - auch die 3 Federn der mittleren 3 Achsen dürfen nicht vergessen werden.

Auch die Verkleidung der Bodenplatte kann hier wieder zum Problem werden: Am besten fädelt man erst eine Seite der Pins ein und und biegt dann die Pins der gegenüberliegenden Seite einen nach dem anderen in die Auflager der Bodenplatte hinein - am besten mit einem Zahnstocher oder einem kleinen Schraubenzieher.

Beim Aufsetzen des Gehäuses kann es zum Problem werden, die Aufnahme des Dampfgenerators einzufädelt - hier ist Geduld und Fingerspitzengefühl gefragt. Ausserdem müssen die Kabel zum Tender korrekt geführt werden. Das grösste Potential zum Abbruch haben jedoch die beiden winzigen, seitlichen  Zangen des Gehäuses welche auf einen Teil des Gestänges aufgefädelt werden müssen: Hier muss man extreme Vorsicht walten lassen, dass die Zangen intakt bleiben und richtig einklinken - nämlich in die Aufnahme des Gestängescharniers, welches sich etwas verdeckt hinter dem vorderen Gestängeteil befindet.

Zum Abschluss werden noch ein paar optische Feinheiten ausgebessert. Der Flugrost an den Stahlrohren hat sich schlussendlich nicht als Rost herausgestellt, sondern als blanker Stahl an dem einfach die Farbe abgegangen war: Wahrscheinlich wurde die Lok ein paarmal direkt an den Metall-Drähten angefasst. Ausserdem war eine seitliche Leiter am Kessel verdreht - konnte jedoch problemlos entfernt und wieder eingesetzt werden: Auf ein Festkleben wurde für den Moment aber noch verzichtet.

Für die Farbausbesserung gibt es viele Möglichkeiten: Airbrush oder Modellbau-Farbe mit mattem Schwarz sind nur ein paar davon. Man könnte die Metalldrähte auch einfach herausziehen und Ersatzteile von ROCO bestellen oder sich die Drähte einfach selber basteln. Für diese Lok jedoch wurden die Ausbesserungen mit einem Marker-Stift durchgeführt: Die Anwendung ist sehr schnell, der optische Effekt ist recht gut, und die Stellen können jederzeit später nochmals weiter verbessert werden.

Falls die Kupplung zum Tender richtig eingesetzt wurde sollte sie nun problemlos einrasten. Vorher muss noch das Stromkabel verbunden und der Tender geschlossen werden: Dann ist die Lok wieder komplett und bereit für die finale Abnahme

Die Testfahrt verlief sehr erfolgreich: Die Lichter leuchteten vorne und hinten wie vorgesehen, und es gab in beiden Richtungen einen sehr ruhigen Lauf ohne Ruckeln - genauso, wie es sein sollte [5].

Damit war das Projekt abgeschlossen, und das kleine Schmuckstück wanderte wieder zurück in die OVP - bereit für zukünftigen Vitrinen- oder Anlageneinsatz. Der Aufwand hat sich auf alle Fälle gelohnt!

~HS~

Verkauf

Im Dezember 2024 fand unsere BR 57 zum Selbstkostenpreis ein neues Zuhause bei Peter in Köln. Viel Spaß damit!

Referenzen

[1] ROCO-Hauptkatalog 2008/2009 (Foto)

[2] ROCO homepage - Dampflokomotive BR 57, Artikel No. 62231 - https://www.roco.cc/rde/62231-dampflokomotive-br-57-der-drg.html

[3] KaModell - Haftreifen für ROCO-Loks in H0 - https://www.kamodel.com/dh/ho/879-haftreifen-kamodel-fur-ho-hoe-roco-lokomotiven-6stk.html

[4] Anleitung BR 57 (vergleichbares Modell) - https://z21app.roco.cc/doc/an/1/de/8052609920.pdf

[5] BR 57 Testfahrt nach Instandsetzung - https://www.dropbox.com/scl/fi/cfp8n913lopgvqhhx0qv0/BR-57-Testfahrt-nach-Instandsetzung.mp4?rlkey=n2f04cx8m42swgie3cg50w9r4&st=5hra58fg&dl=0

Erstelle deine eigene Website mit Webador